WAYNE COUNTY 4/5/2026 2:00:15 AM
SUGGS JETTYE   Return/Appeal Notes:   Parcel: 3603246379
PEARL ST PLAT: / UNIQ ID 41286
769588     ID NO: 10F04005001023
COUNTYWIDE ADVALOREM TAX (100), FIRE - PLEASANT GROVE (100)        CARD NO. 1 of 1  
Reval Year: 2025 Tax Year: 2026 PEARL ST 1.0300 AC   SRC=  
Appraised by 60 on 10001 PIKEVILLE TOWN MAPS TW-10 CI-00 FR-17 EX- AT- LAST ACTION 20250409
CONSTRUCTION DETAIL MARKET VALUE   DEPRECIATION CORRELATION OF VALUE
Foundation - 4
Spread Footing 7.00
Sub Floor System - 6
Slab Platform Hght 30.00
Exterior Walls - 02
Corrugated Mtl (Light) 5.00
Roofing Structure - 07
Wood Truss 8.00
Roofing Cover - 12
Modular Metal 8.00
Interior Wall Construction - 1
Masonry or Minimum 2.00
Interior Floor Cover - 03
Concrete Finished 1.00
Heating Fuel - 01
None 0.00
Heating Type - 01
None 0.00
Air Conditioning Type - 01
None 0.00
Structural Frame - 03
Pre-Fabricated 7.00
Commercial Heat & Air - 1
None 0.00
Half-Bathrooms
BAS - 0 FUS - 0 LL - 0 _
Plumbing Fixtures
4.00 5.000
Office
BAS - 0 FUS - 0 LL - 0 0
TOTAL POINT VALUE 73.000
BUILDING ADJUSTMENTS
Non-Std Wall Height 0 Non-Std Wall Height 1.0000
Quality 3 Below Average 0.9000
Shape/Design 1 Market Adjustment 1.0000
Size Size Size 1.0000
TOTAL ADJUSTMENT FACTOR 0.900
TOTAL QUALITY INDEX 66
USE MOD Eff. Area QUAL BASE RATE RCN EYB AYB
 FOBS  Functional Obsolescence  0.10000
   Standard  0.70000
CREDENCE TO MARKET
48 06 4,559 66 36.96 168501 1966 1966 % GOOD 20.0
DEPR. BUILDING VALUE - CARD 33,700
TYPE: WAREHOUSE Warehouse/Industrial
STYLE: 1 - 1.0 Story
 

Click on image to enlarge
DEPR. OB/XF VALUE - CARD 2,540
MARKET LAND VALUE - CARD 10,030
TOTAL MARKET VALUE - CARD 46,270
TOTAL APPRAISED VALUE - CARD 46,270
TOTAL APPRAISED VALUE - PARCEL 46,270
TOTAL PRESENT USE VALUE - PARCEL 0
TOTAL VALUE DEFERRED - PARCEL 0
TOTAL TAXABLE VALUE - PARCEL $ 46,270
PRIOR
BUILDING VALUE 19,260
OBXF VALUE 2,240
LAND VALUE 6,490
PRESENT USE VALUE 0
DEFERRED VALUE 0
TOTAL VALUE 27,990
PERMIT
CODE DATE NOTE NUMBER AMOUNT
ROUT: WTRSHD:
SALES DATA
OFF. RECORD DATE DEED TYPE Q/U V/I INDICATE SALES PRICE
BOOK PAGE MO YR
01088 0592 1 1984   U I 55000
BUILDING AREA 3,600
NOTES
BETWEEN HWY 117 & ACLRR SALE INCL. 5 LOTS.
C-FORM FOR 1992-ADJ GRADE & USE FOR 1992
SUBAREA
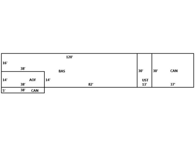
TYPE GS AREA % RPL CS
AOF 532 180 35408
BAS 3,068 100 113393
CAN 1,300 020 9610
UST 390 070 10090
FIREPLACE 1 - None 0
SUBAREA TOTALS 5,290   168,501
CODE QUALITY DESCRIPTION COUNT LTH WTH UNITS UNIT PRICE ORIG % COND BLDG# AYB EYB ANN DEP RATE OVR % COND OB/XF DEPR. VALUE
06 2 CLFENCE/SF   6 530 3,180 4.00 100 1 1975 1975 S3   20 2544
TOTAL OB/XF VALUE 2,544
BUILDING DIMENSIONS UST=E13N30W13S30Area:390;CAN=E37N30W37S30Area:1110;BAS=N30W120S16E38S14E82Area:3068;AOF=S14E38N14W38Area:532;CAN=S5E38N5 5W38Area:190;TotalArea:5290  
LAND INFORMATION
HIGHEST AND BEST USE USE CODE LOCAL ZONING FRON TAGE DEPTH DEPTH / SIZE LND MOD COND FACT OTHER ADJUSTMENTS AND NOTES
  RF   AC   LC  TO  OT
ROAD
TYPE
LAND UNIT PRICE TOTAL LAND UNITS UNT TYP TOTAL ADJST ADJUSTED UNIT PRICE LAND VALUE OVERRIDE VALUE LAND NOTES
4800 4800   100 448 1.1800 2 1.0000
  
  85.00 100.000 FF 1.180 100.30 10030    
TOTAL MARKET LAND DATA     10,030  
TOTAL PRESENT USE DATA